小中大
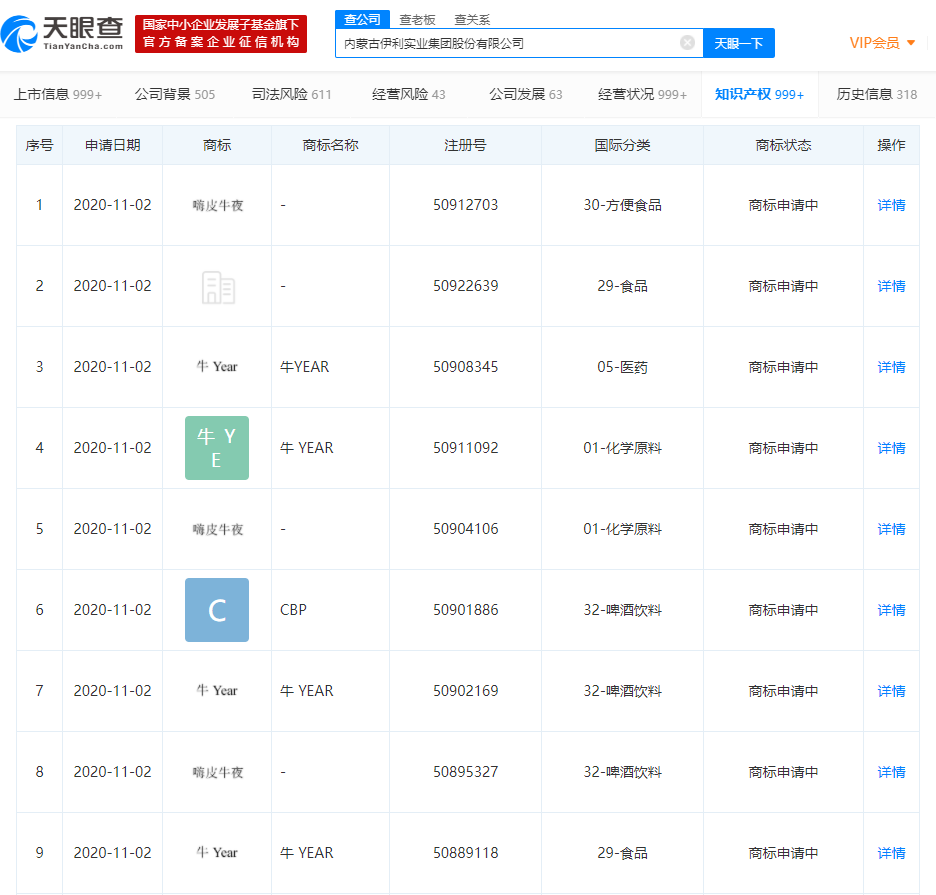
天眼查App商标信息显示,近日,内蒙古伊利实业集团股份有限公司申请多条牛YEAR、嗨皮牛夜商标,国际分类涉及方便食品、食品、医药、啤酒饮料等,状态为商标申请中。...
天眼查App商标信息显示,近日,内蒙古伊利实业集团股份有限公司申请多条“牛YEAR”、“嗨皮牛夜”商标,国际分类涉及方便食品、食品、医药、啤酒饮料等,状态为商标申请中。

责编:hw
顶 (0)
踩 (0)
相关文章
未来5年伊利将投入300亿元扶持上游奶业
2020-10-13 13:17
天猫超市、淘鲜达、饿了么与伊利升级合作
2020-08-14 14:22
布局三四线城市 养乐多与伊利、蒙牛短兵相接
2020-05-28 10:20
超市发与伊利集团签署2020年战略合作框架协议
2020-05-08 13:25
伊利2019营收突破900亿元,新品策略效果不错
2020-04-29 09:09
伊利集团董事长潘刚:今年要继续给员工涨薪
2020-02-29 22:31
便利蜂打通武汉物资“爱心通道”,乳业龙头伊利鼎力支持
2020-02-29 21:43
携手“皮卡丘” 大IP 伊利借便利蜂收割年轻用户
2019-12-02 20:52
尚未注册畅言帐号,请到后台注册



