小中大
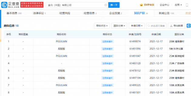
12月27日,企查查APP显示,12月17日,盒马(中国)有限公司申请注册多个屁股脸PIGULIAN商标,国际分类涉及广告销售、服装鞋帽等,目前商标状态均为申请中。据悉,盒马IP盒马先生经常被网友戏称为屁股脸。...
12月27日,企查查APP显示,12月17日,盒马(中国)有限公司申请注册多个“屁股脸”“PIGULIAN”商标,国际分类涉及广告销售、服装鞋帽等,目前商标状态均为申请中。据悉,盒马IP“盒马先生”经常被网友戏称为“屁股脸”。

责编:hw
顶 (0)
踩 (0)
相关文章
盒马X会员店迎开业潮,会员超市赛道会战苏州
2021-12-27 10:21
苏州首家盒马X会员店将于1月1日开业
2021-12-24 09:22
盒马开设独立火锅门店“盒马鲜火锅”
2021-12-24 09:19
盒马上海长宁第四分公司被罚款12.24万元
2021-12-16 09:54
杭州盒马增加40%订货量保障当地民生供给
2021-12-09 15:56
盒马推“斩钉价”,这是要向叮咚买菜宣战?
2021-12-06 09:17
签下30个直采合作基地 盒马用新零售打通“花路”
2021-12-01 09:11
一年进入四个新城 盒马门店数迎疫情后最快增长
2021-11-29 17:14
尚未注册畅言帐号,请到后台注册



