2021-10-13
小中大
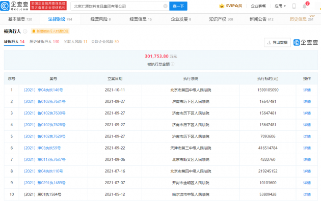
企查查APP显示,近日,汇源果汁关联公司北京汇源饮料食品集团有限公司新增被执行人信息,执行标的1590105090元,执行法院为北京市第四中级人民法院。 企查查显示,目前该公司共有多条被执行人信息,被执行总金额超30亿元人民币。...
企查查APP显示,近日,汇源果汁关联公司北京汇源饮料食品集团有限公司新增被执行人信息,执行标的1590105090元,执行法院为北京市第四中级人民法院。
企查查显示,目前该公司共有多条被执行人信息,被执行总金额超30亿元人民币。

责编:hw
顶 (0)
踩 (0)
相关文章
汇源果汁被强制执行超15亿
2021-07-06 13:12
汇源果汁董事长朱新礼又成被执行人,执行标的超3.6亿
2021-03-08 10:24
汇源果汁董事长朱新礼再被执行,执行标的超3.6亿
2021-03-04 16:42
今年过年还有汇源果汁喝吗?
2019-12-13 10:37
债台高筑卷入P2P,汇源果汁如何被榨干的?
2019-12-12 15:08
欠债一百多亿,卖身可口可乐失败,汇源果汁究竟发生了什么?
2019-08-05 11:12
汇源果汁与天地壹号成立合资公司,注册商标“汇源”易主
2019-04-28 10:45
汇源果汁去年亏损超2亿 改革何去何从?
2016-04-17 11:04
尚未注册畅言帐号,请到后台注册



