小中大
天眼查App显示,近日,京东物流关联公司北京京邦达贸易有限公司,申请多条名为包裹有话说THINGTALK的商标,国际分类涉及教育娱乐、运输贮藏、科学仪器等,商标状态均为注册申请中。...
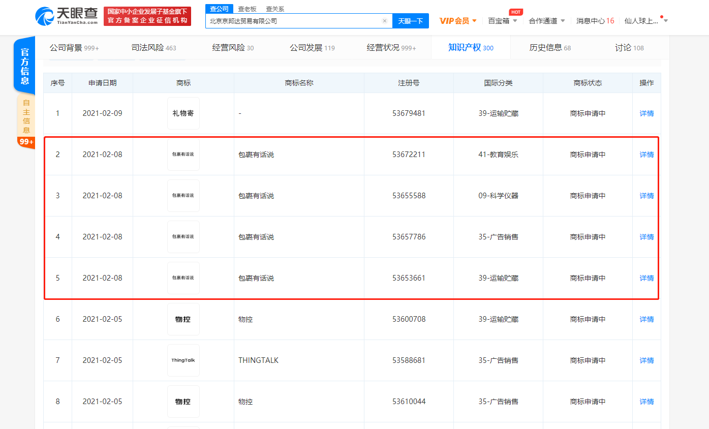
天眼查App显示,近日,京东物流关联公司北京京邦达贸易有限公司,申请多条名为“包裹有话说”“THINGTALK”的商标,国际分类涉及教育娱乐、运输贮藏、科学仪器等,商标状态均为“注册申请中”。

责编:hw
顶 (0)
踩 (0)
相关文章
在京东物流IPO之际 顺丰已进入“无人区”
2021-02-22 10:50
京东物流的「天花板」
2021-02-20 09:09
上市传闻再起 换帅后的京东物流剑指何方?
2021-01-11 13:19
京东物流换帅 CEO王振辉离职 前京东首席人力资源官接替
2020-12-31 13:21
京东物流:国内首款载重数百公斤级舱内空投自转旋翼支线物流无人
2020-12-25 10:34
京东物流与兰华集团达成战略合作
2020-12-08 10:46
京东物流扩容1.5万一线员工
2020-10-30 16:03
京东物流关联公司经营范围新增国际货物运输代理
2020-06-18 14:02
尚未注册畅言帐号,请到后台注册



