小中大
天眼查数据显示,5月6日,北京汇源饮料食品集团有限公司新增一条被执行人信息,执行法院为北京市第四中级人民法院,执行标的为219245152.0。而该公司在今年已数次被列为被执行人。 北京汇源饮料食品集团有限公司成立于2001年6月,注册资本约8.33亿,公司经营...
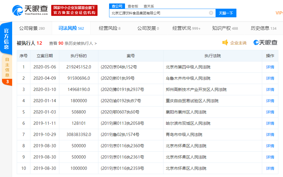
天眼查数据显示,5月6日,北京汇源饮料食品集团有限公司新增一条被执行人信息,执行法院为北京市第四中级人民法院,执行标的为219245152.0。而该公司在今年已数次被列为被执行人。
北京汇源饮料食品集团有限公司成立于2001年6月,注册资本约8.33亿,公司经营范围包括销售包装食品、饮料、果蔬种植、花卉种植等,法定代表人为朱燕彤。公司最大股东为北京汇源控股有限公司,持股比例为99%;汇源果汁创始人朱新礼则持股1%。

责编:hw
顶 (0)
踩 (0)
相关文章
尚未注册畅言帐号,请到后台注册



